background image

12-2 Vol. 1

PROGRAMMING WITH INTEL® SSE3, SSSE3, INTEL® SSE4 AND INTEL® AESNI

12.2 

OVERVIEW OF SSE3 INSTRUCTIONS

SSE3 extensions include 13 instructions. See:

Section 12.3, “SSE3 Instructions,” provides an introduction to individual SSE3 instructions. 

Intel® 64 and IA-32 Architectures Software Developer’s Manual, Volumes 2A & 2B, provide detailed 
information on individual instructions.

Chapter 13, “System Programming for Instruction Set Extensions and Processor Extended States,” in the 
Intel® 64 and IA-32 Architectures Software Developer’s Manual, Volume 3A, gives guidelines for integrating 
SSE/SSE2/SSE3 extensions into an operating-system environment.

12.3 SSE3 

INSTRUCTIONS

SSE3 instructions are grouped as follows:

x87 FPU instruction
— One instruction that improves x87 FPU floating-point to integer conversion

SIMD integer instruction

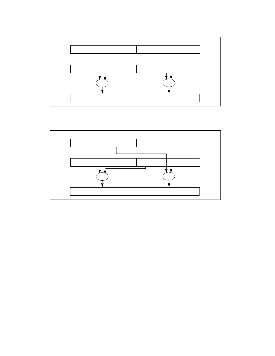
Figure 12-1.  Asymmetric Processing in ADDSUBPD 

Figure 12-2.  Horizontal Data Movement in HADDPD

X1

X0

 X1 + Y1

X0 -Y0

SUB

Y1

Y0

ADD

X1

X0

 Y0 + Y1

X0 + X1

ADD

Y1

Y0

ADD